防排煙系統與消防聯動控制
防排煙系統與消防聯動控制
幾種典型的防排煙系統:
1、通風與排煙系統分開設置
在通風、空調系統的送、回風管路上設置防火閥,平時呈開啟狀態,當火災一旦發生,管道內氣體溫度達到70℃時即自行關閉。在排煙系統管道上或排煙風機的排風口處設置排煙閥,平時呈關閉狀態,當火災發生時,通過火災報警信號手動或自動開啟閥門,根據系統功能配合排煙,當管道內煙氣溫度達到280℃時自動關閉。
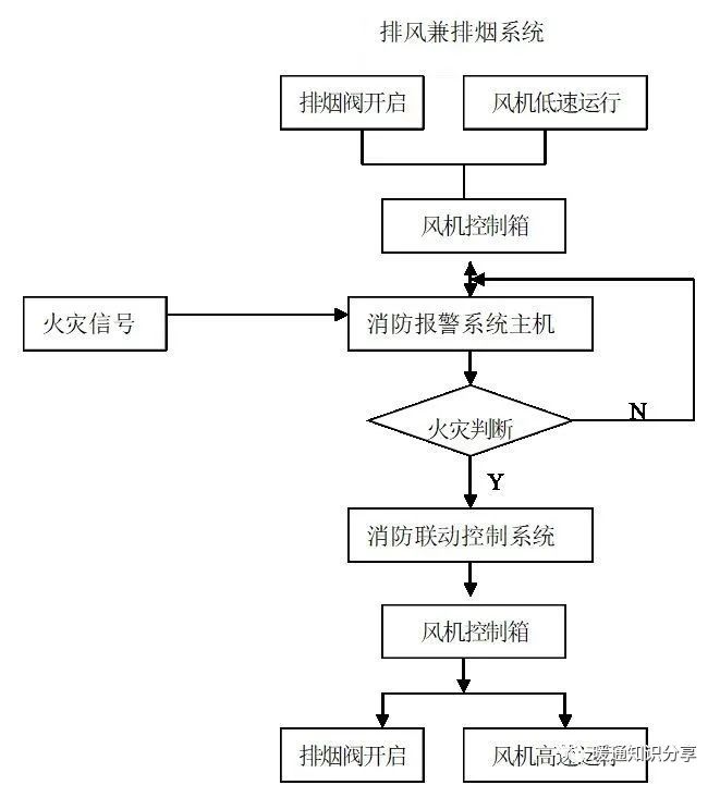
2、通風與排煙共用一套系統
在系統管道上或排風兼排煙風機的排風口處設置排煙閥,平時呈開啟狀態,排風兼排煙風機低速運行。一旦火災發生時,排風兼排煙風機高速運行。
3、通風與排煙共用一套風管,分別設置通風機和排煙風機
在系統管道上設置排煙閥,在系統管道末端設置“T”風管將通風機和排煙風機與系統風管連通。通風機的送風口處設置防火閥,平時呈開啟狀態,當火災一旦發生,電動關閉,風機關閉;排煙風機的排風口處排煙閥,平時呈關閉狀態,當火災一旦發生,電動開啟,風機啟動。(如下圖所示)

電氣聯動控制原理:
1-通風與排煙系統分開設置
1.1控制流程:

1.2 控制原理:
1.2.1平時只運行通風系統。通風系統中防火閥開啟,通風機正常運行,當防火閥關閉時,通風機停止運行;排煙系統中排煙閥關閉,排煙風機不運行。
1.2.2一旦火災發生:
1)消防報警系統火災探測器將火災信號傳送至消防主機。
2)消防主機確認火災后,發出信號至消防聯動柜。
3)通過消防聯動柜手動/自動分別發出控制信號,停止通風機,關閉防火閥,通風系統停止使用;開啟防火閥,啟動排煙機,排煙系統投入使用。為了確保安全,排煙機一般不通過消防聯動控制系統自動關閉,而只設置手動關閉方式。
4)防火閥關閉信號,排煙閥開啟信號,通風機和排煙風機運行信號反饋到消防中心。
1.3消防中心監控點一覽表:

2-通風與排煙共用一套系統
2.1控制流程:

2.2 控制原理:
排風兼排煙系統,排風與排煙的方向一致。
2.2.1該系統中排煙閥為常開狀態,平時風機低速運行,完成通風功能。
2.2.2一旦火災發生:
1)消防報警系統火災探測器將火災信號傳送至消防主機。
2)消防主機確認火災后,發出信號至消防聯動柜。
3)通過消防聯動柜手動/自動分別發出控制信號,排風兼排煙風機低速運行轉為高速運行,完成排煙功能。
4)排煙閥關閉信號,排風兼排煙風機運行信號反饋到消防中心。
2.3消防中心監控點一覽表:

3-通風與排煙共用一套風管,分別設置通風機和排煙風機
3.1控制流程:

3.2控制原理:
該系統通風機出風口設置防火閥,排煙機出風口設置排煙閥,風管中設置排煙閥(常開)。該系統排風與排煙的方向相反。
3.2.1平時該系統中防火閥為開啟狀態,通風機運行,完成通風功能。排煙閥為關閉狀態,排煙機停止。
3.2.2一旦火災發生:
1)消防報警系統火災探測器將火災信號傳送至消防主機。
2)消防主機確認火災后,發出信號至消防聯動柜。
3)通過消防聯動柜手動/自動分別發出控制信號至風機、排煙機控制箱,通過控制箱完成下列控制,完成排煙功能。

4)防火閥關閉信號,排煙閥開啟信號,通風機和排煙風機運行信號反饋到消防中心。
3.3消防中心監控點一覽表:

上述三種防排煙系統類型及其控制方法均在不同的工程實施中實現過,都能滿足相關規范要求,并都順利通過消防驗收。
工程技術人員如能掌握防排煙系統與消防聯動控制的原理及熟練的運用,在項目實施過程中充分考慮兩系統之間的聯動控制邏輯關系,在相應設備訂貨時(如排煙閥、排風閥、控制箱、消防聯動控制設備)能周密的考慮其技術要求、參數要求及相應的接口類型,將大大提高工作效率和經濟效益,為系統的聯動調試一次性順利實現奠定良好基礎。
最后,從分享君個人角度:建議設計第一種方案(通風和消防分開),可能會每層影響一些井道面積,但互不影響,從控制角度來說也比較方便。
智淼君安(江蘇)消防工程技術有限公司http://www.cqtopzs.cn/海灣消防公司主營:海灣消防報警系統銷售,消防設備安裝,海灣氣體滅火、海灣電氣火災、消防水噴淋系統施工安裝,售后維修,海灣消防網站:http://www.cqtopzs.cn/;海灣消防服務熱線:4006-598-119
本頁關鍵詞:防排煙系統與消防聯動控制


蘇公網安備32058102002147號